EQUINOX: The Evolution of an Elegant Edwardian-Style Fast Commuter

For the full article subscribe to Steamboating Magazine and mention that Earl Morse sent you.

Click the image below to view a short video of Equinox. Note the reversing mechanism.

The Hull:

boat 1 equinox.jpg early trials

 

boat 2 eureka.jpg Eureka, Will's first boat  

 

boat 3 entire hull.jpg At Lee's Mills 2013

 

 

boat 4 hulllines.jpg

 

boat 5 hard-chined stern.jpg

 

The Boiler:

boiler 1 mud drums.jpg Note double rows of pipes on three sides

 

boiler 2 side tubes.jpg

 

boiler 3 back tubes.jpg Note economizers parallel to steam drum (superheaters not shown for clarity)

 

boiler 4 from the conn.jpg

 

boiler 5 whistle manifold cluster.jpg

 

The Engine:

engine 1 top end.jpg

 

engine 2 starboard side.jpg

 

engine 3 view aft.jpg Showing Equinox Marshall reversing gear.
Note tilt of piston valves and straight line of valve rod allowing end (not side) placement of steam chests and valves.

Equinox's Marshall reversing gear lines (shown above in an earlier iteration of the engine with "D" valves).

 

engine 4 lines.jpg

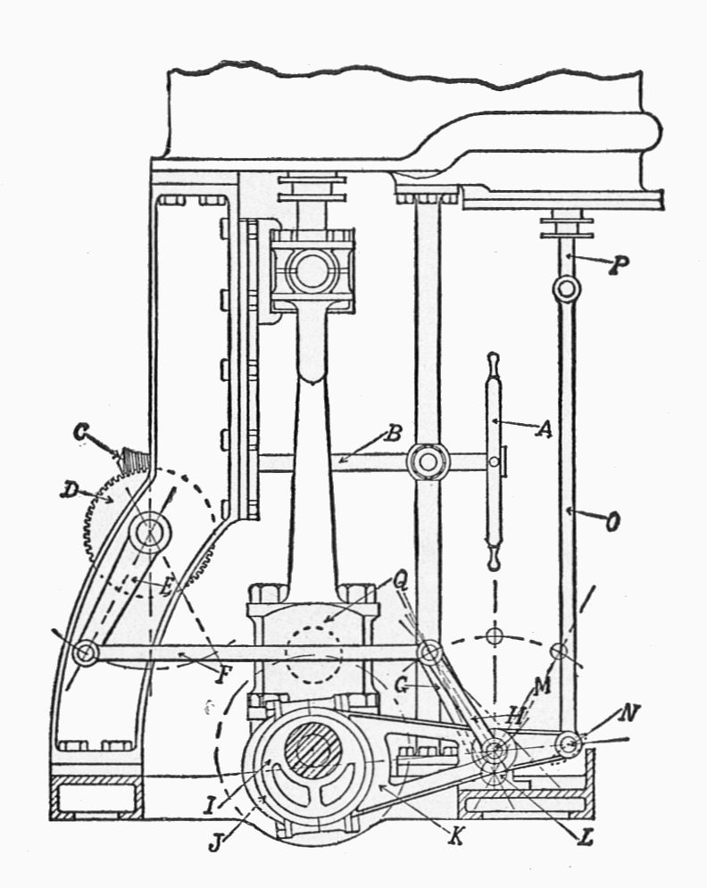
Below, a Bremme valved engine (similar to a traditional Marshall reversing gear) in a large marine application. 
The Bremme version switches the position of the valve and reversing rods.
In Equinox the valve rod is mounted mid eccentric rod, in the Marshall configuration. 
Note (below) that the single eccentric and steam chest & valve location on the side of the engine.
Side valves allowed for a large yet compact engine and provided easy access to valves in a multi-phased compound (e.g. 3 to 4 cylinders).
In a narrow hull like Equinox, the end placement of the steam chests in this twin simple engine is of advantage. 
To reduce angularity valve motion problems and minimize the noise of reciprocating parts Will tilted the valves so that the the valve rod and piston valve were aligned (see above). 
I have never seen this tilted end placement done before... It works very well!

Check the video to see the engine in operation.

Engine 5. Traditional Bremme Valve arrangements (above). Just switch the positions of the valve rod and reversing linkage for a Marshall gear.
By using the inboard Marshall arrangement the angle of the valve rod in Equinox's end-placed steam chests is reduced.

The Marshall version:

 

 

Engine 5 feedpump.jpg Beautiful finish

 

The Prop:

 

prop 1.jpg You can make out the blade profile and streamlined assembly

 

prop 2.jpg

 

prop 3 blades welded to grooved hub.jpg

 

prop 4 blade twist jig.jpg

 

willandson.jpg Passing on the torch to his son..

STEAMBOATERS AREN'T BORN... THEY'RE MADE .... WITH CARE AND MENTORSHIP

HELP A KID GET THE STEAM BUG; START TODAY YOU GEEZA!!